Американская фирма Somaltus LLC подала в суд на компанию Apple. Она требует с корпорации отчисления за незаконное использование технологии зарядки аккумуляторов iPhone, iPad и других устройств, сообщает Macdigger.
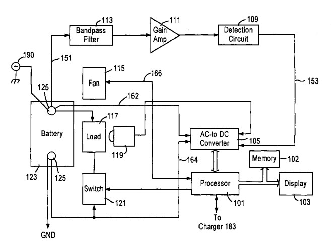
В Somaltus утверждают, что в гаджетах Apple применяется система зарядки, патент на которую принадлежит техасской компании. Речь идет о документе под названием "Интегрированная сервисная система аккумулятора" (Integrated Battery Service System). В патенте описан способ контроля уровня заряда батареи в процессе зарядки, являющийся, как утверждается, интеллектуальной собственностью Somaltus.
"В iPhone реализована система зарядки, в рамках которой устройство использует быструю зарядку до тех пор, пока емкость батареи не достигнет 80 процентов. Затем включается режим подзарядки. Когда заряд батареи опускается ниже 80 процентов, система вновь переключается на быстрый режим", - пояснили юристы Somaltus.
Стоит отметить, что такой способ передачи используется во многих электронных устройствах, позволяя продлить срок жизни источников питания. Эксперты полагают, что если Apple проиграет суд Somaltus, подобные иски ожидают многие другие компании.

В прошлом году Somaltus подала в суд на Ford, Nissan и трех других автопроизводителей, выпускающих электромобили. В иске говорилось, в частности, что в гибридных машинах Ford Fusion, Nissan Altima используется запатентованная технология "Интегрированной сервисной системы аккумулятора". Все пять ответчиков в итоге пошли на мирное соглашение, условие которого не раскрывается.