Новая вавилонская башня: Канадцы построят лифт в космос

ПОДЕЛИТЬСЯ

Новая вавилонская башня: Канадцы построят лифт в космос © thothx.com

Канадская оборонная компания Thoth Technology получила патент США на строительство космического лифта - башни, которая позволит поднимать на орбиту туристов и многотонные грузы, а также генерировать ветряную энергию. Об этом сообщает RT

ПОДЕЛИТЬСЯ

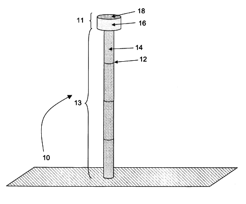
Канадская оборонная компания Thoth Technology получила патент США на строительство космического лифта - башни, которая позволит поднимать на орбиту туристов и многотонные грузы, а также генерировать ветряную энергию. Об этом сообщает RT

В отличие от ракет, путешествие в космос на космическом лифте не столь рискованно. Никаких перегрузок, акустических вибраций, тонн взрывоопасного топлива под сиденьем. По расчетам инженеров, лифт сэкономит 30 процентов топлива, по сравнению с ракетой.

Конструкция будет сохранять жесткость благодаря сжатому газу. А для обеспечения динамической устойчивости планируется использовать надувные секции и маховики. На вершине башни установят стартовую площадку для запуска космических аппаратов.

Thoth Technology собирается построить первую башню высотой в 20 километров - это более чем в 20 раз выше самого высокого здания в мире (828-метровой Бурдж-Халифы в Дубаи). При этом в патенте говорится, что конструкция может в перспективе достигать высоты в 200 километров. Такая башня сможет предоставить прямой доступ в открытый космос.

Впервые строительство космических лифтов предложил российский ученый Константин Циолковский в 1895 году. Ученые и инженеры давно обсуждают, какие материалы использовать в строительстве, и какая конструкция предпочтительнее. 

Tengrinews
Читайте также
Join Telegram

Курс валют

 507.16  course up  594.97  course up  6.53  course down

 

Погода

location-current
Алматы
А
Алматы -9
Астана -14
Актау -7
Актобе -14
Атырау -13
Б
Балхаш -20
Ж
Жезказган -15
К
Караганда -19
Кокшетау -20
Костанай -9
Кызылорда -15
П
Павлодар -25
Петропавловск -13
С
Семей -15
Т
Талдыкорган -9
Тараз -5
Туркестан -11
У
Уральск -11
Усть-Каменогорск -1
Ш
Шымкент -18

 

Редакция Реклама
Социальные сети