Полет в самолете без толкания локтями обещают пассажирам инженеры

ПОДЕЛИТЬСЯ

Полет в самолете без толкания локтями обещают пассажирам инженеры Фото с сайта www.telegraph.co.uk

Французские инженеры придумали сиденья, которые позволят совершающим полет в самолете пассажирам избежать проблемы толкания плечами, сообщает The Telegraph. Однако возникнет другая сложность - весь полет в самолете они будут вынуждены смотреть друг на друга.

ПОДЕЛИТЬСЯ

Французские инженеры придумали сиденья, которые позволят совершающим полет в самолете пассажирам избежать проблемы толкания плечами, сообщает The Telegraph. Однако возникнет другая сложность - весь полет в самолете они будут вынуждены смотреть друг на друга.

Основной целью нового дизайна является более рациональное использование доступного в кабине места. Предлагается сделать так, чтобы пассажиры сидели по диагонали, а не по прямой, как сейчас. Такой подход также позволит увеличить количество мест в самолете. Сиденья обеспечат телевизорами и складными столиками на "спине".

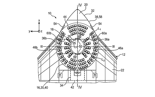
Отмечается, что ранее, для того, чтобы предложить более комфортный полет в самолете, компания Airbus предложила футуристический салон в виде пончика. Пассажиры экономкласса в нем размещены во внешнем кольце, а бизнес-класс - во внутреннем. Новое решение называется более экономичным, в отличие от стандартной "цилиндрической" кабины, поскольку не требует "закрытых днищ" в двух концах салона.

Кроме того, компания предложила сиденья-седла, которые меньше стандартных. Они позволят увеличить количество пассажиров. Естественно, полет в самолете, превышающий несколько часов, в них будет противопоказан.

Tengrinews
Читайте также
Join Telegram

Курс валют

 503.19  course up  589.88  course up  6.64  course up

 

Погода

location-current
Алматы
А
Алматы -8
Астана -22
Актау -1
Актобе -22
Атырау -10
Б
Балхаш -12
Ж
Жезказган -19
К
Караганда -26
Кокшетау -33
Костанай -11
Кызылорда -25
П
Павлодар -32
Петропавловск -20
С
Семей -11
Т
Талдыкорган -8
Тараз -8
Туркестан -23
У
Уральск -10
Усть-Каменогорск -3
Ш
Шымкент -18

 

Редакция Реклама
Социальные сети